КОНСУЛЬТАЦИИ



НОВЫЕ ВИДЫ ТРЕНАЖЕРОВ ДЛЯ БАСКЕТБОЛА

А.А. Миронов, Е.А. Духовской, Е.Е. Яскевич
Всероссийский научно-исследовательский институт спортивно-технических изделий, Москва

В процессе обучения приемам баскетбола применяются различные типы тренажеров, которые можно разделить на три группы:

- тренажеры для общефизической подготовки (для развития мышц туловища, жима лежа с изменением нагрузок, для развития косых мышц живота без нагрузки на позвоночник, для развития кисти, вестибулярного аппарата и т.п.);

- тренажеры для функциональной, специальной подготовки (для развития точности бросков, прыгучести, координации движений и т.п.);

- тестирующие тренажеры (велоэргометр, кинематометр, системы тестирования ОДА и т.п.).

Особый аспект использования тренажерной техники в системе многолетней подготовки спортсменов заключается в том, что управляемые взаимодействия спортсмена, занимающегося с тренажером, повышая потенциал его двигательных возможностей и их максимальную реализацию, сопряженно укрепляют слабые звенья опорно-двигательного аппарата (ОДА) и являются действенным средством профилактики спортивного травматизма. Конструирование тренажерных систем должно предусматривать свободное выполнение на них любых двигательных действий, а их силовое наполнение и как следствие точность - контролировать и совершенствовать с помощью средств информации.

В последние годы получили развитие новые дешевые типы тренажеров для использования при разработке мышц кисти баскетболи стов и для обучения их точным броскам (тренажеры для общефизической и специальной подготовки).

На базе Политехнического института было найдено решение тренажера "Поплавок" . В "Занимательной физике" Перельмана приводился пример погружения на глубину полого закрытого цилиндра при его вращении во время изменения избыточного давления. Схема тренажера приведена на рис.1. Тренажер "Поплавок" состоит из пластмассового сосуда с крышкой. Внутрь наливается вода и помещается поплавок. Он представляет собой пластмассовый цилиндр с нижней пробкой. Цилиндр раскрашен вертикальными полосами различного цвета. При надавливании на стенки сосуда в его воздушном пространстве создается избыточное давление, заставляющее погружаться поплавок. При попеременном изменении усилий сдавливания сосуда поплавок начинает вращаться, причем его вращение может происходить как в плавучем, так и в погруженном положении.

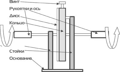
Для разработки кисти успешно применяется тренажер "Хват". Его схема приведена на рис. 2. Тренажер состоит из диска, в котором по кругу располагаются цилиндрические магниты, ферромагнитного кольца, которое притягивается к магнитам, винта, который изменяет положение кольца по отношению к магнитам, оси со сменными рукоятками, двух стоек и основания.

Рис. 1. Тренажер "Поплавок"

Рис. 2. Тренажер "Хват"

Рис. 3. Тренажер "Бросок"

При работе тренажера винтом кольцу задается требуемое положение по отношению к магнитам, что создает фиксированный момент сопротивления повороту оси с рукоятками. Спортсмен вращает ось в любую сторону.

Тренажер "Бросок" предназна чен для развития у спортсменов вестибулярного аппарата, глазомера и точности мышечных движений. Общая схема тренажера представлена на рис. 3.

Тренажер состоит из электромотора переменной частоты вращения, держателя и сменных насадок мишеней. Принцип его действия заключается в придании мишеням различных скоростей движения и выполнении точных бросков в проемы - мишени. Скорость вращения мотора постепенно увеличивается. Дистанции бросков выбираются тренером. Мишени могут вращаться как в вертикальной, так и в горизонтальной плоскостях. Для исключения влияния на мотор динамического удара мяча при его попадании в тело мишени, а не в отверстие применяются гибкий держатель и гибкий материал мишени.

Тренажеры изготавливаются на базе ВИСТИ и прошли апробацию в баскетбольной школе "ТРИНТА". Функциональная направленность в них сочетается с дешевизной, что особенно важно для широкого оснащения спорта средствами сопровождения тренировочных процессов.

Применение новых видов тренажеров и оптимизация их старых конструкций создают условия для роста и совершенствования спортивного мастерства баскетболистов.


 Home На главную   Library В библиотеку   Forum Обсудить в форуме  up

При любом использовании данного материала ссылка на журнал обязательна!